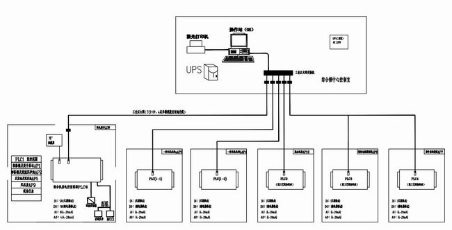
本项目为一万吨污水处理,自控系统氧化沟采用了奥尔良工艺,以太网通讯,PLC站采用了德国西门子PLC,系统软件采用了国内***的工业组态软件来完成系统供水微机监控功能。系统方案在选择系统控制设备时,充分考虑了其先进性、实用性、可维护性、可靠性及集成性。保证提供的是全新的、成熟的、技术先进的且能使该系统安全可靠运行的完整设备。
自控系统图:




本文是【http://www.ew10000.com 洛阳亿万自动化科技有限公司】原创,转载时请务必以链接形式注明作者和出处
地 址:http://www.ew10000.com/home-productinfo-id-53.html